做了20余年的调味品后,日辰股份(603755)做出了一个大胆的决定,公司拿出近3亿元跨界入股大数据公司北京东方金信科技股份有限公司(下称“东方金信”)。可这家公司股权屡遭冻结,且多次被列为被执行人。
账面资金并不充裕却斥资近3亿跨界投资,公告发布后,日辰股份立刻收到了交易所的监管工作函。公告前一天股价大涨的日辰股份,在公告发布后股价连续下行,10个交易日下挫约20%。
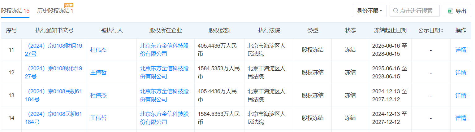
市场和监管机构的担忧并非没有道理。《财中社》注意到,天眼查显示,东方金信及其大股东王伟哲等股东合计涉及15笔股权冻结。东方金信还是被执行人,两笔金额并不大,合计9万元,但历史被执行金额达到约180万元,且合计14次成为被执行人。
东方金信股权冻结且为被执行人
日辰股份日前公告,公司计划2.7亿元收购东方金信13.12%股份。其中,1.7亿元收购赢时胜(300377)和东吴(苏州)金融科技有限公司持有的东方金信10.89%股份,剩余1亿元用于增资东方金信。

入股后,东方金信估值将达到20亿元,日辰股份也将成为东方金信的第三大股东。同时,日辰股份表示,此次收购属于财务性投资,东方金信不会并表,也不会向对方委派董事、高管。
根据公告披露的内容,日辰股份此次是折价入股东方金信。2021-2022年三轮融资后,东方金信估值从25亿元升至35.5亿元,与之相比,日辰股份入股价格打了6折。
东方金信的业绩却在变好。2024年东方金信实现营收约2亿元,亏损9.8万元。2025年前三季度,公司收入1.8亿元,净利润1154万元。

以较前次下调超40%的估值跨界入股一家大幅扭亏为盈的大数据公司,来自山东的调味品公司日辰股份看似做了一笔不错的买卖。
然而,工商信息中,东方金信还有另外一种景象。天眼查信息显示,东方金信早已经登上“被执行人”名单。2025年12月,北京市海淀区人民法院的两笔合计9万元的执行金额,让东方金信成为被执行人。


这并不是全部,历史被执行人名单中,东方金信14次上榜。最早的一次是2025年2月,最近的一次是2026年1月下旬。14次成为被执行人的金额并不大,合计只有178万元。执行法院除一家属于重庆外,其余全部来自北京市海淀区人民法院。
执行金额不大、时间集中、执行法院也多为同一法院,经营上扭亏为盈的东方金信,为何总是成为法院的被执行人呢?
《财中社》注意到,除了屡屡成为法院被执行人外,东方金信股权多次被冻结。天眼查显示,公司最近一笔股权冻结是在2025年5月,执行法院是北京市海淀区人民法院,股权金额是26万元,冻结起止日期从2025年5月9日至2028年5月8日。

在这15笔股权冻结通知中,9笔冻结对象为东方金信。还有两次是公司第一大股东王伟哲,冻结股权数额均为1585万元。两次时间不同,前一次是2024年12月开始冻结,后一次是2025年6月。

在日辰股份的收购公告中,公司特意指出,“东方金信不是失信被执行人”。
一般来说,被法院判决要还钱或者履行义务,这是“被执行人”;有能力却拒绝履行被法院列入失信黑名单,就会成为“失信被执行人”,即俗称的 “老赖”。东方金信已经是“被执行人”,距离 “失信被执行人” 还有多远?
跨界并购钱从哪里来?
日辰股份的主营产品是调味品。公司根据食品加工企业和餐饮企业客户的个性化需求,为其研发生产定制化酱汁类调味料,主要包括腌制酱(液)、涂抹酱和拌面酱等产品。公司还有一部分收入来自粉体类调味料,包括裹粉裹浆、腌制类调味粉等。
公司不久前发布的业绩快报显示,2025年日辰股份实现营收4.7亿元,同比增长15.7%;实现归属于上市公司股东的净利润8421万元,同比增长了31.9%。这是公司上市以来净利润增速最快、规模逼近上市以来新高的一年。
即便如此,日辰股份账面上并没有太多现金。2025年三季度末,公司账面货币资金余额1.1亿元,同期短期借款1.2亿元。日辰股份表示,此次收购交易资金通过自有、自筹等方式解决,“短期内会对公司产生一定资金压力”。
在收购公告发布的第二天,日辰股份就收到了交易所对此次投资的监管工作函。不难发现,公司跨界并购已经引起了监管机构的注意。
成立20余年来,日辰股份专注于食品调味品业务。东方金信是一家大数据基础软件开发商,公司以“海盒”为品牌,已形成“大数据平台+分布式数据库+数据开发/智能分析工具”的一体化产品矩阵。
从主业来看,双方业务协同性较弱。作为财务投资者的日辰股份,或寄望于东方金信未来上市实现投资增值?双方约定若2027年12月31日东方金信未成功上市,或触发其他重大风险等,日辰股份有权要求东方金信实际控制人及其一致行动人无条件回购股份。