中宏网讯 深交所网站公告定于1月22日召开2026年第4次上市委审议会议上审议宁波惠康工业科技股份有限公司(简称:惠康科技、发行人或公司)(首发)申请,作为一家以制冷设备的研发、生产及销售为核心业务的高新技术企业,惠康科技不仅报告期内研发费用率低于同行业可比公司均值,且2025年上半年已出现营收/净利润变动比低于同行业可比公司均值的现象。此外,在ODM外销模式下,还存在所披露产量/员工数量与发行人官网信息不一致的情形。
营收/净利润变动比例低于同行
惠康科技主要产品包括制冰机、冰箱、冷柜、酒柜等,主要应用于民用及商用领域。2022年至2025年上半年各期其营收分别为193006.09万元、249334.71万元、320377.71万元、138907.72万元,其中境外销售收入分别为152832.91万元、187124.92万元、222484.57万元、62866.18万元,占主营业务的比例分别为79.46%、75.37%、69.90%、45.46%;境内销售收入分别为39499.13万元、61144.75万元、95805.45万元、75428.00万元,占主营业务的比例分别为20.54%、24.63%、30.10%、54.54%。在境外销售收入占比逐年下降的情况下,出于自身发展战略考虑,惠康科技跨境电商逐渐转变为由其境内主体向公司采购的模式,境内收入占比逐渐上升。
需要注意的是,其制冰机销售收入占主营业务收入的比例分别为70.83%、78.44%、81.00%、80.76%。从销量而言,制冰机2022年至2024年度销量分别为313.02万台、482.09万台、668.07万台,2023年和2024年同比分别上升了54.01%、38.58%;从销售单价而言,对应各期销售单价分别为435.22元、403.97元、385.9元,2023年和2024年同比分别下滑7.18%、4.47%。其他产品如冷柜、冰箱、酒柜销售单价也呈逐年下滑态势。
对应的是,由于目前国内若干品牌家电企业已进入制冰机领域,与同行业可比公司相比,2025年上半年同行业可比公司营收均值变动率为-0.30%,而惠康科技为-20.98%;利润方面,同期同行业可比公司净利润均值变动率为7.12%,而惠康科技则为-18.67%。
图片来源:发行人招股书在营收业绩连续增长的背后,惠康科技ODM模式的核心竞争优势除先发优势外,未来业绩能否持续或还需要应对市场竞争加剧的挑战。
产量/员工数量披露与企业官网不一致
从生产运营核心要素与行业特性来看,小型家电生产企业属于人员密集型行业。2022年至2025年上半年各期,惠康科技员工总数分别为1313人、1824人、2142人、2568人。截至2025年上半年末,生产人员为1927人。同时劳务派遣情况显示,同期劳务派遣人数分别为125人、182人、99人、146人,各期占员工总数的比例分别为8.69%、9.07%、4.42%、5.38%。报告期内不存在劳务派遣人数占比超过10%的情形。
图片来源:发行人招股书而发行人网站2025年10月28日披露的《2025年诚信质量报告》内容显示,发行人员工总数为1200余人,不足招股书披露2025年上半年末总人数的一半。
图片来源:发行人网站同时,产能利用率情况显示,2022年至2025年上半年各期,惠康科技产品中制冰机的产量分别为305.28万台、503.19万台、670.72万台、329.42万台,产能利用率分别为70.59%、97.36%、103.80%、98.06%;冷柜产量分别为42.20万台、30.89万台、45.74万台、19.41万台,产能利用率分别为97.69%、71.50%、105.89%、89.85%;冰箱(酒柜)产量分别为57.85万台、69.76万台、74.30万台、39.16万台,产能利用率分别为85.70%、103.34%、93.46%、98.50%。
图片来源:发行人招股书而发行人网站2025年4月发布的《产品碳足迹评价报告》内容显示,发行人2024年生产制冰机产生的二氧化碳排放量为5455.18tCO2e,全年共生产产品497.09万台。
图片来源:发行人网站对于员工数量及产量与发行人网站信息不一致的原因,惠康科技未予回应。
突击入股股份锁定合规性待考
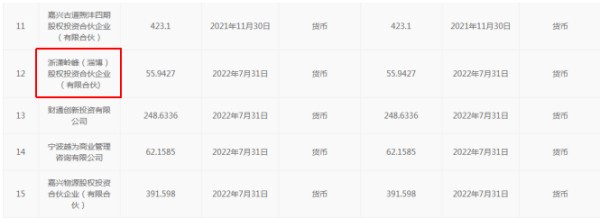
招股书显示,2023年12月,报告期内第二次股权转让股份转让完成后惠康科技股东总计32位;2024年12月,报告期内第三次股份转让完成后股东总计34位。此后,截至招股书签署日,其股本总额和股权结构未再发生其他变化。
根据招股书所披露信息,2024年12月第三次股份转让中,老股东苏州祥仲、南京祥仲分别受让宁波商创、宁波通耀部分股份;新增股东荣泰健康、汤根海、法狮龙、元生嘉灏分别受让宁波商创、宁波通耀部分股份。新增股东万柳军受让浙潇岭峰所有股份。本次转让完成后老股东宁波商创、宁波通耀、浙潇岭峰退出股东序列。
而国家企业信用信息公示系统发行人2025年5月22日填报的2024年报内容显示,发行人股东总数为27位,不仅老股东宁波商创、宁波通耀、浙潇岭峰仍然在股东名单中,而且苏州祥仲、德清数智、南京祥仲、杭州数智、嘉兴宸玥、万柳军、荣泰健康、汤根海、常山柚富、法狮龙、元生嘉灏等股东未出现在2024年报中。此外,招股书披露的长兴弘鹏也在2024年报股东名单中。



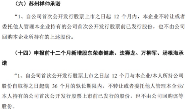
图片来源:国家企业信用信息公示系统需要指出的是,惠康科技申报稿签署时间为2025年6月11日,也就是说2024年6月10日至2025年6月11日新入股或受让或增资获得的股份均应认定为申报前12个月获得的股份。但招股书中,申报前十二个月新增股东均承诺:自公司首次公开发行股票上市之日起12个月与本企业所持公司股份自取得之日起满36个月的孰长期限内,不转让或者委托他人管理本企业持有的公司首次公开发行股票上市前已发行的股份,也不提议由公司回购该等股份。而老股东苏州祥仲、南京祥仲仅承诺:自公司首次公开发行股票上市之日起12个月内,本企业不转让或者委托他人管理本企业持有的公司首次公开发行股票前已发行的股份,也不由公司回购本企业所持有的上述股份。对于申报前12个月内受让的股份只字未提。
图片来源:发行人招股书结合IPO审核问答等文件,均以股份工商变更日为参考。对于招股书所披露股东信息与国家企业信用信息公示系统存在差异的原因及苏州祥仲、南京祥仲关于股份锁定承诺是否合理合规的问题,惠康科技也未回应。
公开信息显示,2023年1月惠康科技即进行了上市辅导,辅导机构为海通证券;随后2023年3月终止在宁波股权交易中心挂牌后,海通证券对其进行了第二期上市辅导;2023年9月,惠康科技又与中金公司签订了上市辅导协议,2024年度中金公司对其进行了四期上市辅导工作后,2024年12月,惠康科技又与财通证券签订上市辅导协议,在2025年5月提交了上市辅导报告。本次IPO拟募集资金179655.40万元分别用于“前湾二号制冷设备智能制造生产基地建设项目”“制冷设备生产基地智能化升级改造项目”“泰国制冷设备智能制造生产基地项目”和“研发中心建设项目”。
特别声明:文中提及内容均来源于公开信息,不构成实质性投资建议,据此操作风险自担。