
中证智能财讯弘宇股份(002890)8月22日披露2024年半年报。2024年上半年,公司实现营业总收入1.86亿元,同比下降12.54%;归母净利润922.40万元,同比下降13.48%;扣非净利润663.86万元,同比下降14.77%;经营活动产生的现金流量净额为793.13万元,同比增长489.32%;报告期内,弘宇股份基本每股收益为0.0543元,加权平均净资产收益率为1.55%。

以8月21日收盘价计算,弘宇股份目前市盈率(TTM)约为68.95倍,市净率(LF)约为2.36倍,市销率(TTM)约为4.11倍。

公司近年市盈率(TTM)、市净率(LF)、市销率(TTM)历史分位图如下所示:



根据半年报,公司第二季度实现营业总收入8008.07万元,同比下降11.25%,环比下降24.34%;归母净利润391.94万元,同比下降15.73%,环比下降26.11%;扣非净利润260.48万元,同比下降15.62%,环比下降35.43%。

半年报显示,公司的主营业务是农用拖拉机提升器的研发、生产和销售,产品包括大、中马力提升器及其配件,提升器产品作为农用拖拉机的工作装置系统,主要发挥着连接农具、控制农具并保证拖拉机能够实现多种田间作业的功能,其与发动机、底盘、变速箱等同属于农用拖拉机的核心组成部件。
分产品来看,2024年上半年公司主营业务中,提升器总成收入1.36亿元,同比下降7.68%,占营业收入的73.21%。

2024年上半年,公司毛利率为17.72%,同比下降0.34个百分点;净利率为4.96%,较上年同期下降0.06个百分点。从单季度指标来看,2024年第二季度公司毛利率为19.98%,同比上升2.75个百分点,环比上升3.97个百分点;净利率为4.89%,较上年同期下降0.26个百分点,较上一季度下降0.12个百分点。

数据显示,2024年上半年公司加权平均净资产收益率为1.55%,较上年同期下降0.27个百分点;公司2024年上半年投入资本回报率为1.55%,较上年同期下降0.26个百分点。

2024年上半年,公司经营活动现金流净额为793.13万元,同比增长489.32%;筹资活动现金流净额-1305.81万元,同比增加9189.73元;投资活动现金流净额-1835.27万元,上年同期为2059.23万元。
进一步统计发现,2024年上半年公司自由现金流为-919.80万元,上年同期为2360.07万元。

2024年上半年,公司营业收入现金比为77.19%,净现比为85.99%。

营运能力方面,2024年上半年,公司公司总资产周转率为0.25次,上年同期为0.29次(2023年上半年行业平均值为0.23次,公司位居同行业5/10);固定资产周转率为1.23次,上年同期为1.47次(2023年上半年行业平均值为1.19次,公司位居同行业3/10);公司应收账款周转率、存货周转率分别为1.76次、1.31次。

2024年上半年,公司期间费用为2529.54万元,较上年同期减少45.66万元;但期间费用率为13.61%,较上年同期上升1.50个百分点。其中,销售费用同比下降6.07%,管理费用同比增长2.67%,研发费用同比下降6.7%,财务费用由去年同期的-32.49万元变为-9.10万元。
资料显示,财务费用的变动主要因为利息收入减少。

资产重大变化方面,截至2024年上半年末,公司货币资金较上年末减少36.26%,占公司总资产比重下降3.25个百分点;在建工程较上年末减少100.00%,占公司总资产比重下降2.81个百分点;固定资产较上年末增加12.56%,占公司总资产比重上升2.18个百分点;应收款项融资较上年末增加22.65%,占公司总资产比重上升1.89个百分点。

负债重大变化方面,截至2024年上半年末,公司应付账款较上年末增加19.11%,占公司总资产比重上升1.68个百分点;应交税费较上年末减少67.87%,占公司总资产比重下降0.38个百分点;递延所得税负债较上年末增加12.91%,占公司总资产比重上升0.13个百分点;应付票据较上年末增加1.60%,占公司总资产比重上升0.03个百分点。

从存货变动来看,截至2024年上半年末,公司存货账面价值为1.16亿元,占净资产的19.82%,较上年末减少19.0万元。其中,存货跌价准备为372.44万元,计提比例为3.1%。

在偿债能力方面,公司2024年上半年末资产负债率为21.34%,相比上年末上升1.39个百分点。

2024年上半年,公司流动比率为3.69,速动比率为2.90。

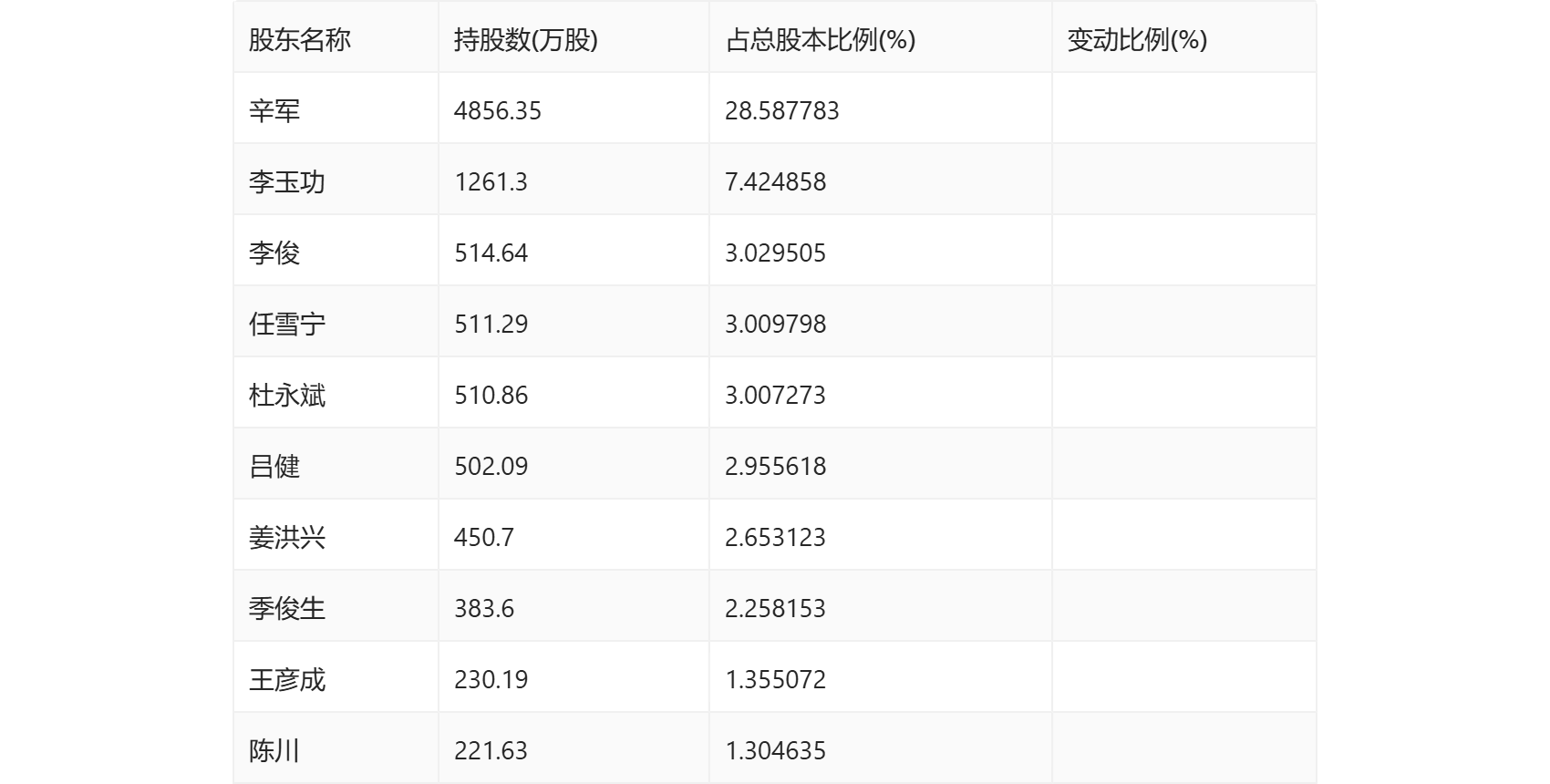
半年报显示,2024年上半年末公司十大流通股东中,持股最多的为辛军,占比28.59%。十大流通股东名单相比2024年一季报维持不变。在具体持股比例上,李俊、季俊生持股有所下降。

值得注意的是,根据半年报数据,弘宇股份24.32%股份处于质押状态。其中,第一大股东辛军质押2891.20万股公司股份,占其全部持股的59.53%。
筹码集中度方面,截至2024年上半年末,公司股东总户数为7055户,较一季度末下降了740户,降幅9.49%;户均持股市值由一季度末的21.21万元下降至19.31万元,降幅为8.96%。

指标注解:
市盈率
=总市值/净利润。当公司亏损时市盈率为负,此时用市盈率估值没有实际意义,往往用市净率或市销率做参考。
市净率
=总市值/净资产。市净率估值法多用于盈利波动较大而净资产相对稳定的公司。
市销率
=总市值/营业收入。市销率估值法通常用于亏损或微利的成长型公司。
文中市盈率和市销率采用TTM方式,即以截至最近一期财报(含预报)12个月的数据计算。市净率采用LF方式,即以最近一期财报数据计算。
市盈率为负时,不显示当期分位数,会导致折线图中断。文章来源:中国证券报·中证网文章作者:杨澎原标题:弘宇股份:2024年上半年净利润922.40万元 同比下降13.48%