最新消息

首页 > 最新消息 > 返回前页

起底骗保精神病院背后资本群像:深耕本地医疗版图,违法违规并非单例

时间:2026年02月09日 20:02

近日,《新京报》曝光的湖北襄阳、宜昌多家精神病医院“骗保”行为受到广泛关注。在文章中,两地共16家医院遭点名,其中一家后被发现系爱尔眼科(300015.SZ)实控人陈邦实际控制。财闻据公开资料梳理被点名医院的背景发现,大部分涉事医院股权结构简单,像襄阳恒泰康这样背靠爱尔系的并不多见,但也有一些医院背后资本在医疗领域小有规模,和上市公司或新三板公司存在交集。

涉事医院实控人曾在新三板公司任职

例如,企查查显示,报道中提到的襄阳襄州安怡泰精神病医院(以下简称“襄州安怡泰”)实际控制人系自然人刘文瑞。该人士对外投资了5家公司,其中包含一家新三板挂牌企业红岭医疗(838704.NQ)。2020年到2024年间,刘文瑞曾担任红岭医疗董事。

刘文瑞对外投资的公司,来源:企查查

刘文瑞还曾与A股上市公司有过交易。据披露,2023年,美康生物(300439.SZ)将持有的重庆润康生物科技有限公司(以下简称“润康生物”)70%股权以总价人民币304.5万元分别转让给重庆博艾生物医学研究院(集团)有限公司和刘文瑞。企查查显示,目前,刘文瑞仍持有润康生物30%股份。

除此之外,刘文瑞在重庆的医疗行业具备涉足颇广。

据企查查,其持股99%的重庆开拓者医疗器械有限公司实缴资本有1000万元,该公司在2016年到2024年间多次中标重庆本地医疗机构的招采项目。企查查披露的其作为中标方的记录达到80条。如2024年中标重庆医科大学附属第一医院的血液透析机采购,中标金额212.6万元;2023年中标重庆市綦江区人民医院282.4万元的超声支气管镜等医疗设备采购;2018年中标重庆医科大学附属大学城医院242万元的平板数字化多功能医用诊断X线透视摄影系统采购等。

重庆开拓者医疗器械有限公司的中标信息,来源:企查查

有实控人旗下企业频频中标襄阳本地采购项目

另一家襄阳芝麻精神病医院的情况较为类似,背后资本深耕湖北各地的医疗领域。据企查查,该院实控人及法定代表人系张维明。除了襄阳芝麻精神病医院外,张维明旗下企业还包括湖北诺正医疗用品有限公司(以下简称“湖北诺正”)、武汉润昌禾医疗器械有限公司(以下简称“武汉润昌禾”)等。

其中,湖北诺正近两年多次中标湖北省襄阳市下辖的枣阳市当地医疗机构采购项目。如2026年1月湖北诺正中标枣阳市妇幼保健院40.6万元的医疗设备采购项目,同月中标枣阳市疾病预防控制中心56万元的医用设备采购;2025年6次中标枣阳市第二人民医院等单位的医疗器械采购项目等。

湖北诺正的中标信息,来源:企查查

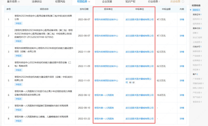
另外武汉润昌禾在2022年到2023年间多次中标枣阳市疾病预防控制中心、枣阳市第一人民医院的采购项目等。

武汉润昌禾的中标信息,来源:企查查

此前被曝出系爱尔眼科实控人陈邦控制的襄阳恒泰康医院看起来是资本实力最雄厚的一家。襄阳恒泰康医院本身实缴资本达到500万元,其隶属的湖南恒泰康康复医疗产业发展有限公司(以下简称“湖南恒泰康”)实缴资本达到1.18亿元。

有涉事医院曾牵涉进“人身自由权”纠纷案件

据《新京报》的报道,这些被点名的医院打出“免费住院、免医药费”旗号,通过各种方式扩充住院人数,提升医保套取规模;具体套取方式包括在住院收费系统中录入大量未实际开展的诊疗项目,如心理治疗、行为矫正治疗、行为观察与治疗等。同时还违规收治非精神疾病人员,千方百计阻挠病人出院,实现长期持续套保。

财闻注意到,这些涉嫌违规的行为都有迹可循。此次被点名的医院中,不少此前曾被处罚或者出现相关纠纷

企查查显示,襄阳康宁精神病医院在2023年曾作为被告和二审上诉人牵涉进人身自由权纠纷案件中。南漳立源精神病医院曾被南漳县卫生健康局罚款2万元,违法事实包括:部分病历医师签名处未签名,未按规定完整填写病历;医院药房内有过期药品等。襄阳融诚医院曾因使用非卫生技术人员从事医疗卫生技术工作被襄阳市卫生健康委员会罚款1万元。

不仅是被点名的医院,陈邦控制的湖南恒泰康旗下多家精神病医院更是曾直接因“套保”被罚。例如汤明恒泰康精神卫生专科医院在2023年1月1日至2025年6月30日期间,在汤阴县范围内实施了以超标准收费、过度诊疗、超限制用药的行为造成医保基金损失,金额63872.95元。

衡南恒泰康医院有限公司存在分解收费的情况,违反医保基金使用相关条例。祁阳澍康精神康复专科医院有限公司存在重复收费等情况,均被罚款。

精神类医疗机构“集体骗保”并非偶然

事实上,由于心理治疗等精神科项目的主观性、无客观记录、边界模糊等特征,精神病院可以说是骗保“重灾区”。医保局方面已要求开启相关领域的自查工作。

2月4日,国家医保局发文提到,要求各省级医保部门要组织本辖区内所有精神类定点医疗机构从即日起全面开展自查自纠,重点聚焦但不限于诱导住院、虚假住院、虚构病情、虚构诊疗、伪造文书、违规收费等违法违规使用医保基金行为。

另据“湖北发布”微信公众号2月4日消息,湖北省成立联合调查组,已赴襄阳市、宜昌市就媒体反映有的精神病医院“违规收治患者、涉嫌套取医保资金”等问题开展深入调查。

据新华社消息,国家卫生健康委相关负责人2月5日介绍,国家卫生健康委高度重视媒体反映的湖北省襄阳、宜昌部分精神病医院存在违规收治、涉嫌套取医保资金、侵害患者权益等问题,已派出相关司局负责同志和专家赴湖北,督促指导地方做好调查工作,依法依规严肃处理。

爱尔眼科方面,其在2月6日午间发布澄清公告,承认控股股东爱尔医疗投资与襄阳恒泰康的股权关系,即襄阳恒泰康是爱尔医疗投资“与其他投资方合资设立的四级子公司”。但爱尔眼科同时提到,襄阳恒泰康由其医院管理团队经营,控股股东爱尔医疗投资不参与襄阳恒泰康的日常经营管理。爱尔眼科与湖南恒泰康及其下属机构不存在股权控制、业务关联或经营管理关系。

另据公开报道,爱尔眼科方面称,湖南恒泰康已成立专项工作小组,并于2月5日派遣核心管理层赶赴襄阳,全力配合政府调查工作;同时部署旗下其余16家医院全面开展自查自纠,严格对照医保政策及医疗规范进行排查,并启动全院合规专项整顿。

【返回前页】

股市要闻