光伏市场行情的急转直下,导致越来越多的光伏企业因入不敷出而陷入困境。光伏企业接连被法院列入“被执行人”或“失信被执行人”,某种程度上是评估企业经营形势的参考指标之一。
一般来说,“被执行人”指在法律判决生效后,有义务履行判决结果但尚未履行,进而被人民法院依法采取强制执行措施的当事人。其核心在于未履行生效法律文书确定的义务。
“失信被执行人”则是在被执行人的基础上,因具备如“有履行能力而不履行”、“抗拒执行”等法定情形,被人民法院依法纳入“失信被执行人”名单,进行信用惩戒的个体。俗称“老赖”,其行为已严重损害执行人的合法权益。
所以,法院将企业列入“被执行人”影响并不大,只要履行了偿债义务,相关信息也会跟着消除。举例来说,无锡尚德、新特能源、丽豪清能都曾被列为“被执行人”,后来履行了需要执行的义务后,它们的“被执行人”信息记录都变为0。
反之,若上了“失信被执行人”名单,其影响要相对大一些,相当于判了企业一个“信用死刑”,意味着银行账户冻结、招投标资格取消、融资贷款被拒、甚至法定代表人被限制高消费等。
因此,对任何一家企业,特别是上市公司来说,除非是真没钱了,欠债金额较大还不上,否则谁都不想上“失信被执行人”名单,被唤之以“老赖”。
然而,我们注意到在光伏企业当中,却有一家上市公司因欠薪约32万元而两上“失信被执行人”名单。
从工商信息平台了解到,宝馨科技(002514)在2025年12月两次被靖江市人民法院列入“失信被执行人”,发布日期为2025年12月2日和2025年12月22日。

熟悉宝馨科技的人都了解,这家90亿元跨界HJT玩家当前已深陷债务危机当中。不仅业绩亏损,还存在大量的诉讼。
1月30日,宝馨科技发布2025年业绩预告,预计2025年归母净亏损0.6亿-1亿元,扣非后净亏损0.9亿元-1.4亿元。
此前的2023、2024年度,宝馨科技归母净亏损分别为1.93亿和7.67亿元,扣非净亏损分别为2.0亿元和7.2亿元。
算上2025上预亏,其将连续3年亏损。
宝馨科技成立于2001年,最初主营业务是钣金结构件,在2010年登陆深交所。2020年底,马伟通过江苏捷登成为公司新的实际控制人。马伟入主后,宝馨科技开始跨界光伏。
2022年公布的怀远与鄂托克项目投资总额合计达到35.4亿元。2023年1月,宝馨科技再度宣布拟在怀远打造6GW高效异质结电池及相关产品高端制造项目,项目总投资额约55亿元。据此计算,宝馨科技转型以来公开的项目投资金额已超过90亿元。

这一系列动作立刻点燃了市场热情。从2022年4月28日的3.43元/股,到8月2日最高的18.49元/股,宝馨科技股价在短短三个月内翻了近6倍。
概念炒作只是昙花一现,支撑股价上涨的逻辑终究要回到项目落地和业绩上,结果宝馨科技的业绩不理想,HJT电池、组件项目也接连“烂尾”。
因投权投资合作纠纷,其遭到了鄂托克旗和蚌埠市怀远县两家地方国资起诉,索赔金额合计4.7亿元。
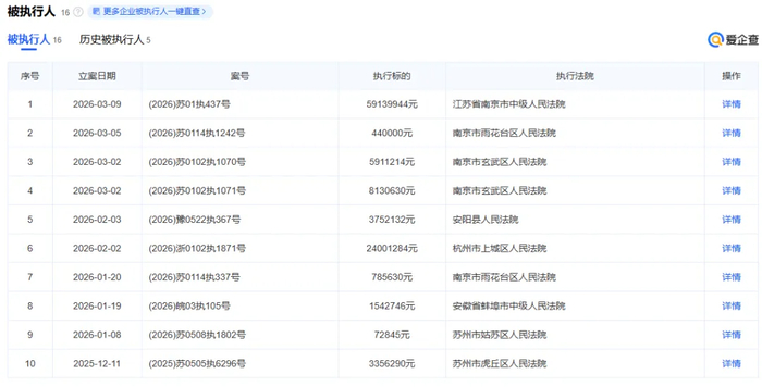
目前,宝馨科技还有16条“被执行人”信息,3月9日的一笔执行标的为59139944元,最大的一笔执行标的为300289984元,最小的一笔执行标的为38851元。

承接上文,那么导致宝馨科技上“失信被执行人”名单的两起案件执行标的有多大呢?
案号(2025)苏1282执2433号的执行标的251947.98元,案号(2025)苏1282执3346号的执行标的73474.76元,且两起案件均为劳动仲裁案,申请人要求支付工资。


如果说因欠债金额太大,无力偿还,导致宝馨科技上“失信被执行人”名单还有情有可原。结果这两起仲裁案涉及工资金额合计约为32万元,因拖欠32万工资不给而上失信人名单,这轮操作可以说是因小失大,“得”不偿失。